设为首页
收藏本站
搜索
热搜:
活动
交友
discuz
本版
帖子
用户
登陆
注册
财经
优好知识网
BBS
快速发布
个人中心
今日签到
私信列表
消息中心
搜索全站
扫码关注官方微信
扫码下载APP
返回顶部
优好知识网(uhzs.com)
›
资讯
›
财经
›
买香港保险的人都后悔了吗?这三大坑!90%的人踩过 ...
热门问答
更多热门问答
2025安徽安庆市岳西县大学生乡村医生专项招
2025上海市盲童学校招聘19人公告
2025年德州乐陵市教育系统引进优秀人才公告
2026福建龙岩市第二医院招聘研究生及紧缺急
2025年湖州长兴县妇幼保健院招聘编外工作人
2025广东广州市花都区恒悦房地产开发有限公
2024年中共甘肃省委党史研究室所属事业单位
2025安徽滁州市大学生乡村医生专项计划招聘
2024下半年北京朝阳区事业单位招聘报名入口
2025广东广州花都产融建设发展投资有限公司
技术文章
更多技术文章
Tracyrat
2025安徽安庆市岳西县大学生乡村医生专项招
RafaelIdorb
2025上海市盲童学校招聘19人公告
KevinUnani
2025年德州乐陵市教育系统引进优秀人才公告
RafaelIdorb
2026福建龙岩市第二医院招聘研究生及紧缺急
RafaelIdorb
2025年湖州长兴县妇幼保健院招聘编外工作人
RafaelIdorb
2025广东广州市花都区恒悦房地产开发有限公
KevinUnani
2024年中共甘肃省委党史研究室所属事业单位
Tracyrat
2025安徽滁州市大学生乡村医生专项计划招聘
RafaelIdorb
2024下半年北京朝阳区事业单位招聘报名入口
Tracyrat
2025广东广州花都产融建设发展投资有限公司
友情链接
返回列表
买香港保险的人都后悔了吗?这三大坑!90%的人踩过
0
回复
77650
查看
[复制链接]
RafaelIdorb
当前离线
积分
219551
RafaelIdorb
7万
主题
7万
帖子
21万
积分
论坛元老
论坛元老, 积分 219551, 距离下一级还需 9780448 积分
论坛元老, 积分 219551, 距离下一级还需 9780448 积分
积分
219551
发消息
RafaelIdorb
Lv.8
显示全部楼层
发表于 2026-1-15 20:45:07
|
阅读模式
最近几年,香港保险真是火到不行,保费数字一路往上冲,仅2025上半年保费冲到了1737亿港元。
虽然内地访客投保数据没公布,但根据去年数据估计,内地访客是绝对的主力军。(去年内地访客保费628亿港元,占总保费的28.6%)
但说真的,跟风上车之前,有些事你得先搞清楚。
今天就来聊聊那些你可能会踩的坑,准备买或者正在考虑的朋友,建议耐心看完。
N1
关于6.5%复利,你要知道的真相
首先得泼点冷水:
朋友圈里刷屏的6.5%复利,说的是演示数字的上限,不是你今天买明天就能拿到的。
现在大多数香港保险,放进去的钱通常要5年以上才能回本。收益呢主要分两种:保证收益:合同里写死的,保险公司必须给;非保证收益(分红):不保证,主要看保险公司投资赚不赚钱、市场行情好不好等。那个吸引人的6.5%,其实是把这两部分加在一起算的。就拿这两个产品举例:
正常来讲,放10年,复利大概在3%左右;放20年,有机会到5.5%左右,接近6%;想接近6.5%,最起码要持有30年及以上。所以,香港保险是一个长期投资:你钱放进去两三年就要用,那它可能不太适合你;但如果你规划的是10年以上的事:给孩子存大学学费、给自己规划养老现金流,或者想做一些稳健的长期资产配置,那它就挺对路。
N2
计划书上的分红,能全部拿到吗
投保时,都会给你做计划书,也会详细给你讲解;计划书中的数字看起来很漂亮,但这里面有个关键:演示不等于保证拿到手。香港保险很多高收益产品属于低保底 + 高分红结构,我们看到的计划书就是按分红100%实现来算的。实际上,分红要看保险公司投资表现,市场大环境等,会有一定的波动。
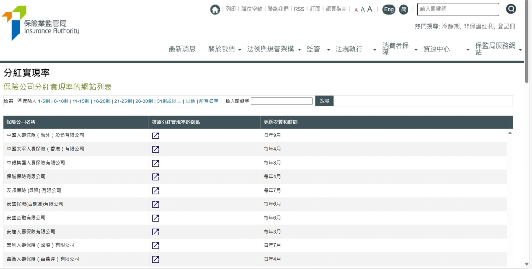
万一分红达不到演示水平,你原本计划的提取节奏可能就得调整。如果还硬按原来的比例取钱,可能会影响保单长期增值,甚至提前把账户取空。看到这,你可能会觉得保险公司这不是在画大饼?还真不是。产品上市前,精算师都要做大量测试;悲观情况下、客观情况下收益如何,都要算一遍,给你展示个中位数。这所有演示数据以及底层投资逻辑都要送香港保监局审核。审核通过了,才能上架该产品。更重要的是,香港监管要求保险公司公开历史的分红实现率。
过去到底分了多少、兑现了多少承诺,官网都能查到,透明度高。不同公司表现有差异,选对公司很重要。
像友邦、安盛、国寿这样分红实现率表现非常优异的公司,可以把预期再拉高点;
真接受不了高分红的,也有高保底的产品,像太平洋的世代鑫享,保证复利2%。
如果对以上提到的产品感兴趣或对产品有疑惑,
天涯海角也要找到Ni:
买香港保险的人都后悔了吗?这三大坑!90%的人踩过
中发现Ni:
买香港保险的人都后悔了吗?这三大坑!90%的人踩过
中发现Ni:
买香港保险的人都后悔了吗?这三大坑!90%的人踩过
中发现Ni:
买香港保险的人都后悔了吗?这三大坑!90%的人踩过
中发现Ni:
买香港保险的人都后悔了吗?这三大坑!90%的人踩过
中发现Ni:
买香港保险的人都后悔了吗?这三大坑!90%的人踩过
中发现Ni:
买香港保险的人都后悔了吗?这三大坑!90%的人踩过
回复
使用道具
举报
发布主题
返回列表
高级模式
B
Color
Image
Link
Quote
Code
Smilies
您需要登录后才可以回帖
登录
|
立即注册
本版积分规则
发表回复
回帖后跳转到最后一页
返回顶部
返回列表